现行《特种设备目录》99种图示大全,监管好帮手!
浏览: 19663 次 发布日期: 2024/08/21
特种设备的定义
特种设备的生产(包括设计、制造、安装、改造、修理)、经营、使用、检验、检测和特种设备安全的监督管理,适用本法。
本法所称特种设备,是指对人身和财产安全有较大危险性的锅炉、压力容器(含气瓶)、压力管道、电梯、起重机械、客运索道、大型游乐设施、场(厂)内专用机动车辆,以及法律、行政法规规定适用本法的其他特种设备。
国家对特种设备实行目录管理。特种设备目录由国务院负责特种设备安全监督管理的部门制定,报国务院批准后执行。



锅炉的分类及基本构成

承压蒸汽锅炉(电站锅炉)

承压蒸汽锅炉(卧式)

承压蒸汽锅炉(立式)

热水锅炉


压力容器分类及基本构成





液化石油气瓶

无缝气瓶

溶解乙炔气瓶

钢制焊接气瓶

金属内胆纤维环缠绕气瓶

车用CNG金属内胆纤维环缠绕气瓶

管束式集装箱用大容积钢制无缝气瓶

长管拖车用大容器钢制无缝气瓶

制冷机组



压力管道的分类



(4)电梯,是指动力驱动,利用沿刚性导轨运行的箱体或者沿固定线路运行的梯级(踏步),进行升降或者平行运送人、货物的机电设备,包括载人(货)电梯、自动扶梯、自动人行道等。非公共场所安装且仅供单一家庭使用的电梯除外。


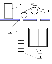
电梯工作原理示意图
1.控制柜;2.导向轮;3.曳引钢丝绳;4. 曳引轮;5.轿厢;6.对重



电梯的分类及基本构成

客梯

货梯

自动扶梯

自动人行道

杂物梯

观光梯

起重机械的分类

1.电动机 2.联轴器 3.制动器 4.减速器 5.卷筒 6.钢丝绳 7.滑轮和吊具起升机构工作原理图

通用门式起重机

门式起重机

通用桥式起重机

桥式起重机

门座式起重机

桅杆式起重机

电动单梁起重机

升降作业平台,现已不在《特种设备目录》中

机械式停车设备

客运索道的分类
按支撑物的不同,分三大类。

客运架空索道
利用架空的绳索支撑运载工具运送乘客。

客运拖牵索道
利用运载钢丝绳作为牵引动力带动拖牵杆拉乘客移动的设施。分高位(拖牵索距地面高度大于2m)、低位拖牵索道。

客运缆车

大型游乐设施的分类
观览车类---乘人部分绕水平轴回转

观览车类--摩天轮

观览车类--摇滚排排坐

观览车类--阿拉伯飞毯
滑行车类---沿轨道运行,有惯性滑行特征

滑行车类--过山车

滑行车类--激流勇进

滑行车类--疯狂老鼠
架空游览车类---沿轨道运行,有惯性滑行特征

架空游览车类--太空漫步

架空游览车类--儿童爬山车
陀螺类---座舱绕可变倾角的轴做回转运动,主轴大都安装在可升降的大臂上

陀螺类--天旋地转

陀螺类--逍遥水母
飞行塔类---乘人部分用挠性件吊挂,边升降边绕垂直轴回转

飞行塔类--青蛙跳

飞行塔类--跳跃云霄

飞行塔类--太空梭

飞行塔类--飞行塔
转马类---乘人部分绕垂直轴旋转

转马类--旋转木马
自控飞机类---乘人部分绕中心垂直轴回转并升降

自控飞机类--自控飞机

自控飞机类--章鱼类
滑道类---是指沿轨道、惯性滑行行为运动形式的游艺机。在滑行过程中操作人员是无法控制的,只能顺其自然。

滑道类

滑道类--峡谷漂流

滑道类--水滑梯
无动力类---游乐设施本身无动力,由乘客自行在其上操作和游乐。蹦极系列、滑索系列、观光气球系列、空中飞人系列人力驱动的转盘、翻斗乐、蹦床、充气弹跳等。

无动力类

无动力类

无动力类--蹦极
(8)场(厂)内专用机动车辆,是指除道路交通、农用车辆以外仅在工厂厂区、旅游景区、游乐场所等特定区域使用的专用机动车辆。

场(厂)内专用机动车的分类

叉车,注:改变叉具的不属于叉车

平衡重式叉车

插腿式叉车

侧面式叉车

前移式叉车

托盘堆垛车

三向堆垛车

非公路用旅游观光车

非公路用旅游观光列车